在永磁體的結構型式中了解齒輪減速機,永磁體結構型式電機主要有交流永磁同步電機、直流永磁電機、永磁步進電機、無刷直流電機、永磁直線(音圈)電機等.它們的水磁體結構各不相同.主要有以下幾種,直流永磁電機的永磁體直流電機水磁體通常在定子上作主磁極。
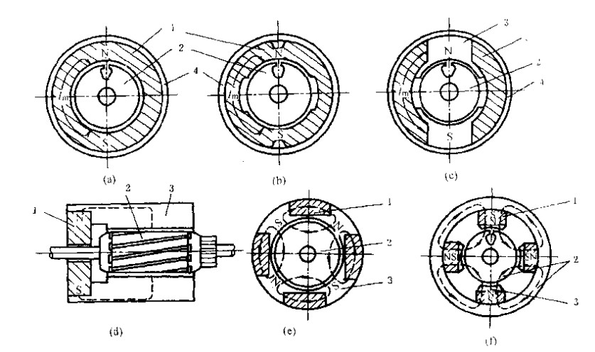
圖中結構是采用鋁鎳鉆系列永磁材料的永磁體的幾種結構型式。由于鋁鎳鉆系列材料H,值較小,然而永磁體長細比都較大,除了圓簡形之外,其他幾種結構型式中,軟鐵極靴結構較為復雜.由于H,值較低,為了防止過多的去磁,有時需要在加工或裝配過程中采取保磁措施,如加保磁環等。直流永磁電機中采用鐵氧體材料的永磁體結構詳細請看圖片,由圖可知、用鐵氧體材料制成的永磁體多是薄片形或圓筒形,沿磁化方向的長度I,.較短,這是因為它的Nc較大的緣故。
這類永磁體結構都比較簡單,適于用粉末冶金壓制成型,大批量生產。因為H,較大.抗去磁能力強,一般不需要采取保磁措施。(a), (b〕為稀土永磁體兩種典型結構。(a )為切向式,(b)為徑向式。
在切向式結構中,永磁體是并聯作用的,兩個永磁體截面提供每極氣隙磁通,容易得到較高的氣隙磁密值.沿水磁體充磁方向上,只有一個水滋體的長度提供每對極的磁勢。適于采用矯頑力較高的永磁材料。在這種結構中,永磁體充磁方向和氣隙磁通的方向相差近900.漏磁較大,而且機殼需采用非磁性材料,或者在永磁體和機殼之間增加非磁性材料,這使結構變得復雜。相比以上電機,城邦的齒輪減速機和永磁體結構的電機在結構和型式要求上標準又不一樣了,所以對于不同結構的齒輪減速機也好,永磁步進電機也好,都必須了解和認清其性能呢特點。
上一篇 鐵硼水磁材料在齒輪減速機中的應用 下一篇 減速電機永磁體和磁滯體