很多時候我們都提到齒輪減速機齒輪加工方式,齒輪減速機中齒輪的重要性等,那齒輪減速機中齒輪的質量是怎么去判定去檢測的呢?下面我們來了解一下:
齒輪減速機齒輪試驗臺的基本原理與結構
齒輪試驗臺種類繁多。按照加載方式可分為機械的、液壓的、電氣的三種。按試驗臺試驗的項目又可分為輪齒彎曲疲勞、齒面接觸疲勞、效率、.潤滑、噪音、磨損、膠合以及兩種以上的綜合試驗臺,按傳遞的力能流可分為開式的和閉式的兩種。開式試驗臺中,試驗齒輪傳遞的能量,全部通過加載器轉化為熱能而損耗。閉式試驗臺中,試驗齒輪傳遞的能量形成環形力流,在試驗過程中,原動機只需克服運轉中的摩擦損耗即可。因此,所耗能量要比前者少得多。下面分別簡要介紹開式和閉式齒輪試驗臺的原理與結構。
開式試驗臺,由驅動試驗臺的原動機1、被試驗的齒輪箱2和加載器3組成。如圖8-1所示。齒輪的試驗負載力矩T,施加在齒輪箱輸出軸上。在試驗運轉過程中,原動機發出的驅動力矩Tm應滿足以下關系式:

流電動機,也可采用其它發動機。 加載器有機械的(圖8-2)、水力的(水力測功器)、電力的和電磁渦流的(圖8-3),前三種測功器是常見的,此處不再贊述,下面主要介紹電磁渦流式測功器。

電磁渦流式測功器的結構,如圖8-3所示。與試驗齒輪箱輸出軸相聯的軸3上,裝有高導磁率的鋼制轉子(感應器)
2。轉子外圓上銑成矩形齒,最有利的齒數是6-8個,在轉子齒寬方向的正中間開有環形凹槽。軸3支承在固定的機,架上。在轉子外圍裝有定子1,在定子的槽內繞有環形的激磁線圈5,并用三個非磁性材料制成的夾子固定,其位置恰在凹槽內。定子平衡地安裝在軸3上,可自由轉動,并通過杠桿和臺秤相聯顯示出壓力,即可計算扭矩。

電磁一渦流測功器的工作原理是:當激磁線圈與直流電源接通后,產生磁通,使轉子(感應器)含有磁性。由于轉子的齒頂和定子之間的間隙很小(十分之幾毫米),齒槽和定子之間的間隙很大(幾十毫米),因此,磁通經過轉子的矩形齒與定子形成了閉合回路。轉子內磁通量的大小取決于激磁線圈的匝數,而電流大小,與轉子是否轉動無關。轉子轉動時,定子內表面每一點的磁通量都在變化:當某點的位置與轉子的齒相對時,磁通量最大,而與轉子的W相錯時,磁通量最小。由于磁通量的變化,在定子內產生渦流,而渦流的力場阻礙著轉子的旋轉,于是在轉子上產生阻力矩,即試驗齒輪箱的負載力矩。由于磁場的相互作用,轉子也對定子作用叮個扭矩,此扭矩與阻力矩大小相等,方向相反而前者可以通過杠桿和臺秤測出。
感應產生的渦流使定子發熱,所以在定子內要不斷通入冷卻水。帶有熱量的水經定子的縱向孔,最后從閥4逸出。
負載力矩的調節,靠改變激磁電流來實現。轉子和定子內的磁通量隨激磁電流的增大而增大,磁通量增大,定子中渦流也隨之增大,則阻止轉子轉動的力矩也就增大。
這種測功器的特點是結構簡單,便于制造。它只有同功率電力測功器(包括供電機組)重量的十分之一。占地面積也小。在工作性能上,低轉速時,有較大的制動力矩,制動效果好,高轉速時,可達到很大的制動功率。負載調節很方便,只要改變定子中的電流強度即可。因此,可實現試驗負載的程序控制和自動調節。
(二)閉式試驗臺的原理與結構
1.工作原理
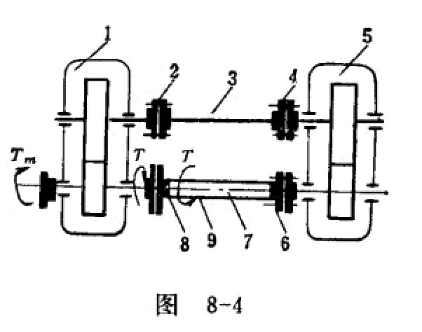
閉式試驗臺,是由兩臺中心距和傳動比相同的齒輪箱(見圖8-4中的1和5),用傳動軸3,彈性軸7和聯軸節2、4、6、8相連結,形成一封閉系統。施加載荷時,松開加載聯軸節8的聯接螺釘,施加外力矩,使彈性軸產生扭轉變形,然后鎖緊聯軸節8上的聯接螺釘,也就是鎖住了彈性軸7的扭轉變形。在這·個封閉系統內,由彈性軸變形而產生的封閉載荷,它只能使嚙合輪齒之間產生一定的嚙合力而并不帶動它們運轉。換句話說,加載機構只是把力施加于系統之內,但并未對系統做功。當試驗臺運轉時,電動機輸出的功率比開式試驗臺小得多,僅需用來克服試驗臺整個系統的內摩擦損耗,這些損耗包括嚙合損耗、攪油損耗、軸承損耗、聯軸節損耗和彈性軸上的損耗等。不過,后兩項損耗極為微小,可略而不計。閉式試驗臺驅動電機的功率,約為封閉系統傳遞功率的4~10%,其數值與嚙合付的效率、潤滑油粘度和加載器的轉動慣量等有關,因此,閉式試驗臺所消耗的功率比開式試驗臺節約得多。下面分析一下閉式試驗臺系統中功率流動的情況。
眾所周知,功率流動的方向,總是由功率最大的地方流向功率最小的地方。對于齒輪傳動來說,總是由主動輪驅動被動輪。一個齒輪是主動輪還是被動輪,要看作用于齒輪軸上的扭矩方向和齒輪旋轉的方向是否一致而定。方向一致的.為主動輪,不一致的為被動輪。從嚙合面來看,也能區別主動輪與被動輪,主動輪總是以順著齒輪旋轉方向的前側面為嚙合面,而被動輪卻以順著齒輪旋轉方向的后側面為嚙合面。

上一篇:具有時代特點的早期齒輪
下一篇:接觸區沿軸向移動的齒輪